Apple brevetta la soluzione allo "shock da luminescenza"
22/04/2018
Lo smartphone è ormai diventato il dispositivo più utilizzato nelle nostre vite, quotidianamente infatti ci rivolgiamo a lui per qualsiasi necessita o informazione. Finché tutto ciò accade sotto la luce del sole non riscontriamo alcun problema, ma se prima di andare a dormire diamo l'ultima occhiata ai social con un ambiente completamente oscurato, la luce del Device potrebbe recare parecchio fastidio. Apple ha quindi deciso di trovare una soluzione allo "shock da luminescenza", ovvero alla luce abbagliate che colpisce i nostri occhi non appena attiviamo il telefono.
Apple salverà i nostri occhi?
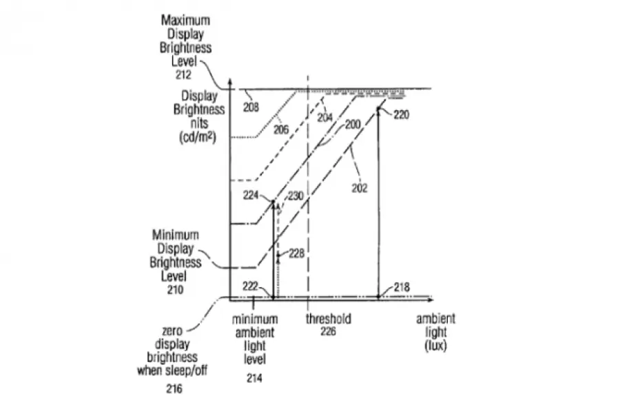
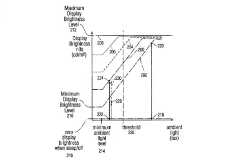
Ovviamente dopo pochissimi istanti il sensore di luminosità andrà a migliorare la soluzione, ma non prima averci abbagliato completamente. Secondo i documenti depositati in questi giorni dall'azienda di Cupertino, tale problema si potrà risolvere grazie ad un utilizzo più intelligente del suddetto sensore. Quest'ultimo infatti potrebbe essere in grado di abbassare la luminosità ancora prima dell'effettiva attivazione del display. Apple pensa sicuramente di utilizzare questa tecnologia sui propri iPhone, che però potrebbe risultare infinitamente comoda anche sugli smartphone appartenenti a brand concorrenti. Ulteriore vantaggio si riscontrerà nella durata della batteria, in quanto accendendo il display con una luminosità più bassa rispetto al normale beneficerà indubbiamente sul consumo totale. Ricordiamo però che si tratta soltanto di un brevetto e non è detto che ritroveremo la funzione nelle prossime versioni di iOS. FONTE: Phone ArenaArticolo Precedente
iPhone 9 si fa in tre, tutti i modelli in prima linea
Articolo Successivo
Galaxy A8 2018 segue gli ultimi top con le patch di sicurezza Android di aprile
Claudio Banfi
Laureato in Informatica scrive con passione notizie dal mondo della tecnologia portando in Italia le ultime novità dal mondo.