Caricamento...

NewsDigitali.com Logo NewsDigitali.com

Nuovi indizi sugli Apple Glass in un nuovo brevetto depositato

30/04/2018

Nuovi indizi sugli Apple Glass in un nuovo brevetto depositato

Qualche giorno fa abbiamo parlato di alcuni rumors relativi alla costruzione e alla tecnologia installa sugli attesi Apple Glass. Gli occhiali intelligenti dell'azienda di Cupertino infatti sono sicuramente al centro di diverse indiscrezioni delle ultime settimane, tanto da possedere anche una data "limite" fissata per il 2020. Le notizie che arrivano oggi però non vanno ad evidenziare nello specifico questo tipo di accessorio, ma una speciale tecnologia che ovviamente troverebbe spazio maggiore proprio applicata a delle lenti.

Apple Glass con tracciamento degli occhi?

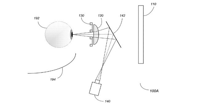
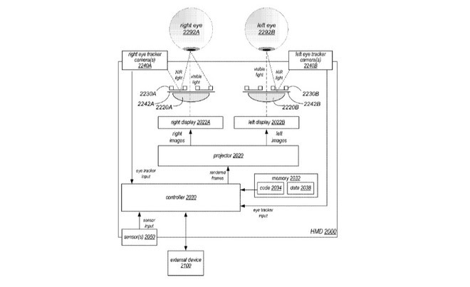
Parliamo di un nuovo brevetto depositato dalla stessa Apple, in cui si fa riferimento ad un sistema di tracciamento degli occhi. In particolare si tratterebbe di una tecnologia in grado di registrare i movimenti dell'occhio sfruttando la rifrazione della luce IR attraverso due micro telecamere installate lateralmente. Tale approccio potrebbe quindi tramutarsi nell'effettivo metodo di navigazione degli Apple Glass, e più nello specifico, del sistema operativo creato appositamente per il suddetto prodotto, ovvero rOS. La domanda di brevetto è stata effettuata presso la Patent & Trademark Office, che studierà approfonditamene il caso, prima di autorizzare l'azienda a procedere senza intoppi. [caption id="attachment_222751" align="alignnone" width="660"]Brevetto apple Brevetto apple[/caption] [caption id="attachment_222750" align="alignnone" width="660"]Brevetto apple Brevetto apple[/caption] Ricordiamo però che non esiste certezza sul fatto che Apple decida di utilizzare tale tecnologia, ne tantomeno che la stessa azienda sviluppi degli occhiali intelligenti in grado di sfruttare la realtà aumentata. FONTE: Patent & Trademark Office
Claudio Banfi Avatar
Claudio Banfi

Laureato in Informatica scrive con passione notizie dal mondo della tecnologia portando in Italia le ultime novità dal mondo.