Smartphone pieghevole Samsung, forse previsto il 3D Touch
06/01/2018
Samsung potrebbe lanciare quest'anno il suo smartphone pieghevole, dispositivo che dovrebbe fare i conti anche con il Surface Phone di Microsoft. Nonostante siano passati davvero tanti anni da quanto si è iniziato a parlare di questo dispositivo purtroppo non si conoscono bene i dettagli dello stesso device e la faccenda, di giorno in giorno diventa sempre più confusa.
Tra problemi, possibili rinvii e chi più ne ha più ne metta sembra che questo dispositivo sia destinato a non arrivare mai sul mercato. Che si chiami Galaxy X, Galaxy Y o Galaxy Z oggi siamo qui per parlare proprio di questo prodotto visto che nuovi brevetti da poco emersi sembrano tutti puntare verso questa direzione.
sensore di pressione[/caption]
Sebbene sugli iPhone il 3D Touch continui a venir proposto regolarmente, smartphone dopo smartphone, su Android non ha poi avuto tutto questo successo. Uno dei dispositivi più recenti in commercio che dispone di schermo 3D Touch "parziale" è Note 8. Il sensore è infatti integrato nel tasto Home e viene utilizzato soltanto per tornare alla Home, accendere lo schermo del prodotto e poco altro.
[caption id="attachment_205111" align="aligncenter" width="660"]
brevetto[/caption]
[trovaprezzi prodotto='Samsung Galaxy Note 8']
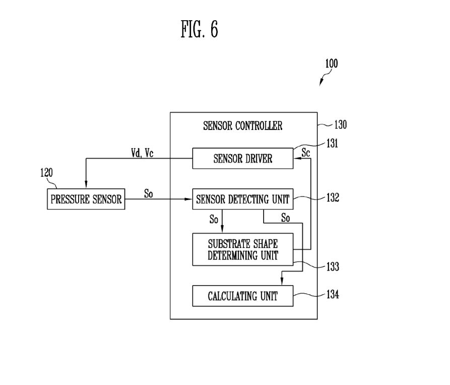
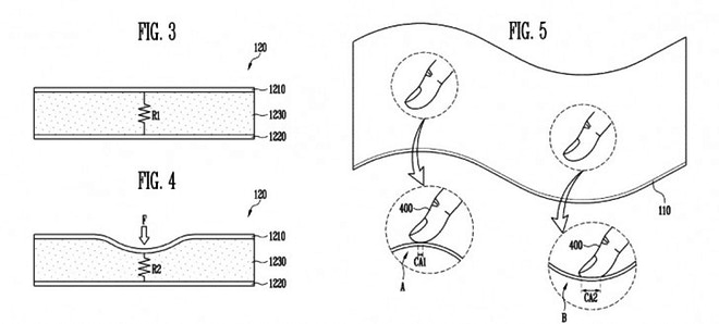
Sebbene non sia quindi così essenziale Samsung ha intenzione di spingere nuovamente su questa tecnologia. I nuovi brevetti sembrano infatti mostrare un pannello flessibile, come mostrato dalla figura 5, e l'utente attraverso la pressione può modificarne la forma e lo stesso pannello dovrebbe essere in grado di rilevare questa gesture. Ancora troppo poco per essere sicuri che quanto mostrato venga utilizzato sul suo primo smartphone pieghevole o magari qualche altro modello. Ricordiamo infatti che i brevetti spesso vengono depositati e non utilizzati per diversi anni. Cosa fare quindi? Attendere che altro materiale finisca in rete in modo da avere altro su cui poter ragionare e magari raggiungere insieme una conclusione. Per ora si parla quindi solo di rumor.
Samsung deposita nuovi brevetti per il suo smartphone pieghevole
[caption id="attachment_205112" align="aligncenter" width="893"]
sensore di pressione[/caption]
Sebbene sugli iPhone il 3D Touch continui a venir proposto regolarmente, smartphone dopo smartphone, su Android non ha poi avuto tutto questo successo. Uno dei dispositivi più recenti in commercio che dispone di schermo 3D Touch "parziale" è Note 8. Il sensore è infatti integrato nel tasto Home e viene utilizzato soltanto per tornare alla Home, accendere lo schermo del prodotto e poco altro.
[caption id="attachment_205111" align="aligncenter" width="660"]
brevetto[/caption]
[trovaprezzi prodotto='Samsung Galaxy Note 8']
Sebbene non sia quindi così essenziale Samsung ha intenzione di spingere nuovamente su questa tecnologia. I nuovi brevetti sembrano infatti mostrare un pannello flessibile, come mostrato dalla figura 5, e l'utente attraverso la pressione può modificarne la forma e lo stesso pannello dovrebbe essere in grado di rilevare questa gesture. Ancora troppo poco per essere sicuri che quanto mostrato venga utilizzato sul suo primo smartphone pieghevole o magari qualche altro modello. Ricordiamo infatti che i brevetti spesso vengono depositati e non utilizzati per diversi anni. Cosa fare quindi? Attendere che altro materiale finisca in rete in modo da avere altro su cui poter ragionare e magari raggiungere insieme una conclusione. Per ora si parla quindi solo di rumor.
Articolo Precedente
Il nuovo HTC Vive 2018 sarà presentato al CES 2018
Articolo Successivo
Spotify raggiunge quota 70 milioni di utenti abbonati
Claudio Banfi
Laureato in Informatica scrive con passione notizie dal mondo della tecnologia portando in Italia le ultime novità dal mondo.