Samsung brevetta un nuovo display flessibile
09/01/2019
Samsung non si sta preparando soltanto all'arrivo della serie Galaxy S10, ma è attiva anche nella realizzazione dei suoi nuovi smartphone pieghevoli. Un primo dispositivo pieghevole è stato mostrato qualche settimana fa, anche se il termine "mostrato" è forse un parolone grosso. Diciamo che la compagnia ha fatto capire che strada sta seguendo, ma comunque per il futuro si è pronti a valutare ogni tipo di soluzione.
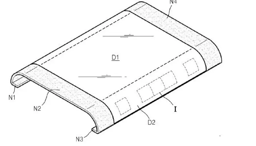
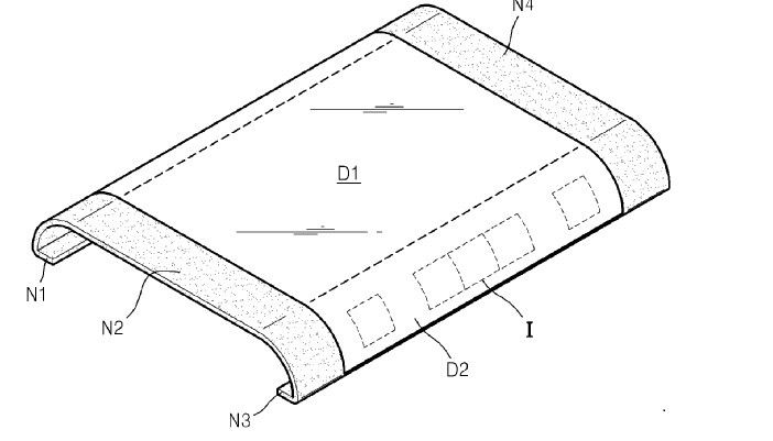
Oggi parleremo infatti di "soluzioni", ovvero quelle che Samsung ha brevettato e registrato negli appositi uffici statunitensi. Effettuando una ricerca abbiamo infatti scoperto un nuovo brevetto (US20190004569) che ci mostra come la compagnia vorrebbe realizzare i nuovi pannelli pieghevoli, almeno in teoria.
[gallery columns="5" ids="253005,253006,253007,253008,253009,253010,253011,253012,253013,253014,253015,253016,253017"]
Per Samsung la soluzione da intraprendere è piuttosto semplice, il pannello deve essere in grado di piegarsi liberamente con un angolo di curvatura maggiore o uguale a 0,01 mm e inferiore o uguale a 20 mm. L?utente deve avere la possibilità quindi di prendere letteralmente il pannello è piegarlo a proprio piacimento, magari "avvolgendolo" lungo la backcover dello smartphone ed allungandolo soltanto quando necessario.
A prima vista guardando i disegni la soluzione ci sembra praticamente identica a quella mostrata da Xiaomi con il suo dispositivo pieghevole che può diventare un tablet aprendo velocemente le "ali" dello schermo. Ormai di informazioni ne abbiamo abbastanza ed i produttori hanno davvero tutte le salse per realizzare lo smartphone pieghevole perfetto. Vedremo a questo punto cosa salterà fuori per la fine del 2019.
Source | Patentscope
Articolo Precedente
Fastweb, ecco le offerte mobili convenienti per i clienti rete fissa
Articolo Successivo
Whatsapp, presto in arrivo il blocco tramite impronta
Claudio Banfi
Laureato in Informatica scrive con passione notizie dal mondo della tecnologia portando in Italia le ultime novità dal mondo.