Nuovi brevetti Samsung: smartphone senza cornici e lettore di impronte a schermo
14/01/2018
Samsung è costantemente al lavoro per riuscire a portare sul mercato in futuro nuovi smartphone dotati di schermo sempre più grandi ma allo stesso tempo cornici ancora più ridotte. Anche se di mezzo ora ci sono i Galaxy S9 praticamente di prossima uscita la compagnia sudcoreana sembrerebbe aver depositato lo scorso 3 luglio 2017 nuovi brevetti schermatici che vanno ad identificare uno smartphone privo di cornici e con varie possibili soluzioni per l'implementazione dei vari sensori utili al funzionamento. Che possa trattarsi di un idea per il possibile sviluppo di Galaxy Note 9 o magari di un device totalmente nuovo?
device 1[/caption]
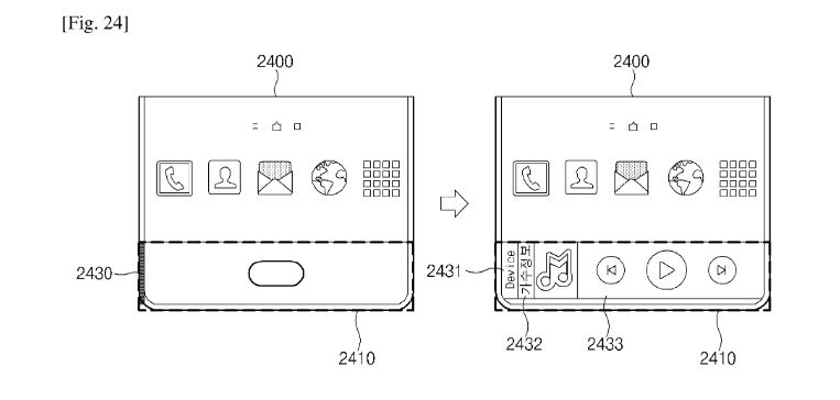
Nella prima immagine possiamo vedere uno smartphone che va a proporre nella parte superiore dello schermo, giusto al centro, una specie di isola in stile Essential Phone. Qui viene posizionata la camera frontale che sarà ovviamente utilizzata per le videochiamate e lo scatto di foto. In basso invece il lettore di impronte ed i tasti funzione sono immaginati a schermo.
[caption id="attachment_206416" align="aligncenter" width="877"]
device 2[/caption]
Nell'altro disegno il prodotto si mostra con curve molto più dolci. Nella parte superiore ed inferiore sono inserite sottilissime cornici curve che rendono il design molto più accattivante. Qui però nella parte superiore lo spazio utile all'inserimento del sensore fotografico è stato inserito nella parte laterale del display in modo da non rubare spazio utile nella parte superiore. Inutile dire che anche qui il lettore di impronte è integrato nel pannello. Che possa essere un'idea per lo sviluppo del futuro Galaxy Note 9? Staremo a vedere.
Samsung: i nuovi brevetti mostrano un device straordinario
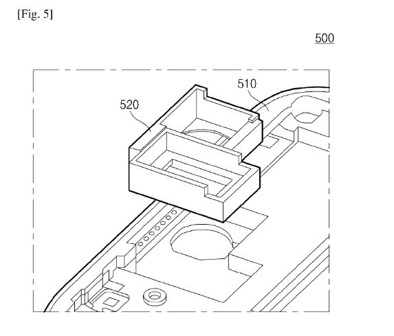
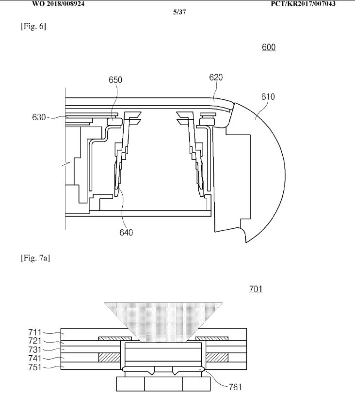
[gallery td_gallery_title_input="brevetti Samsung" link="file" td_select_gallery_slide="slide" columns="4" ids="206417,206418,206419,206420,206421,206422,206423,206424,206425"] Nonostante la domanda sia stata depositata il 3 luglio 2017 i disegni sono stati pubblicati soltanto l'11 gennaio 2018. Sono emersi all'interno del documento vari disegni che illustrano il posizionamento e la funzione dei vari sensori. La cosa brutta è che è tutto scritto in coreano quindi non riusciamo a capire nulla, siamo per cui costretti a muoverci per intuito. [caption id="attachment_206415" align="aligncenter" width="811"]
device 1[/caption]
Nella prima immagine possiamo vedere uno smartphone che va a proporre nella parte superiore dello schermo, giusto al centro, una specie di isola in stile Essential Phone. Qui viene posizionata la camera frontale che sarà ovviamente utilizzata per le videochiamate e lo scatto di foto. In basso invece il lettore di impronte ed i tasti funzione sono immaginati a schermo.
[caption id="attachment_206416" align="aligncenter" width="877"]
device 2[/caption]
Nell'altro disegno il prodotto si mostra con curve molto più dolci. Nella parte superiore ed inferiore sono inserite sottilissime cornici curve che rendono il design molto più accattivante. Qui però nella parte superiore lo spazio utile all'inserimento del sensore fotografico è stato inserito nella parte laterale del display in modo da non rubare spazio utile nella parte superiore. Inutile dire che anche qui il lettore di impronte è integrato nel pannello. Che possa essere un'idea per lo sviluppo del futuro Galaxy Note 9? Staremo a vedere.
Articolo Precedente
Smartwatch Huawei in arrivo con bordi interattivi?
Articolo Successivo
ASUS ZenFone 5 Lite appare online
Claudio Banfi
Laureato in Informatica scrive con passione notizie dal mondo della tecnologia portando in Italia le ultime novità dal mondo.