Motorola brevetta un nuovo smartphone pieghevole
12/05/2018
Anche Motorola ha brevettato il suo smartphone pieghevole. Un dispositivo dotato di pannello in grado di piegarsi che una volta esteso rende il dispositivo un vero e proprio tablet. Il brevetto, contenente tutta una serie di immagini del presunto dispositivo, è stato scovato presso la World Intellectual Property Organization.
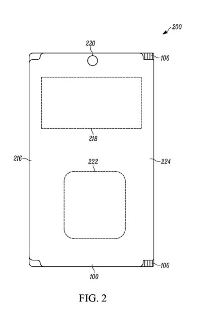
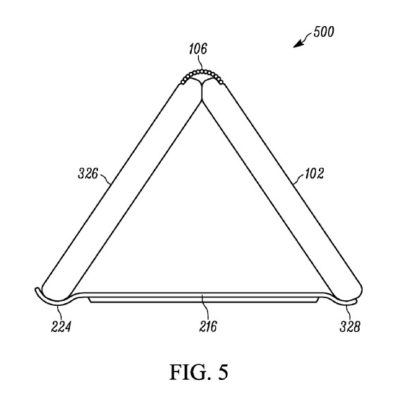
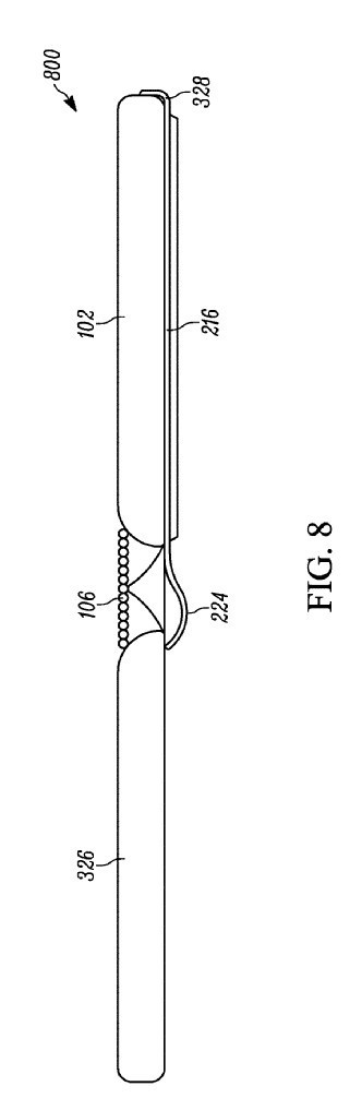
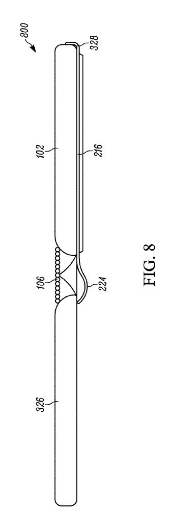
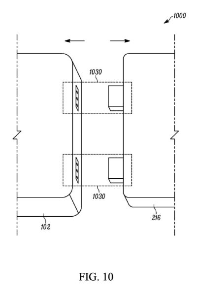
Il dispositivo dispone di una cerniera posta ai lati dello smartphone che ricorda davvero tanto quella del Lenovo Yoga Book, dispositivo che per altro abbiamo recensito e che ci ha davvero stupito tantissimo. Ilprodotto è comunque composto da tre parti fondamentali, uno schermo posto su due facce ed una base che fa da supporto.
Motorola pensa al suo smartphone pieghevole
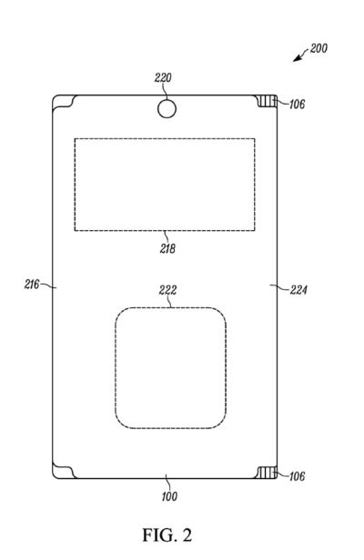
[gallery columns="9" ids="224443,224444,224445,224446,224447,224448,224449,224450,224451,224452,224453"] Le immagini sono davvero tante e ci mostrano chiaramente qual è l'idea di Motorola. Il dispositivo è formato da un unico enorme pannello che al centro dispone di una cerniera metallica capace di piegarsi creando un angolo tale da non danneggiare il pannello. Se piegato il dispositivo si trasforma in uno smartphone tradizionale. Una volta aperto, quindi "allungato" lo schermo ecco spuntare un ottimo tablet. Grazie alla base di supporto il dispositivo può anche essere appoggiato comodamente su un tavolo ed essere utilizzato come un convertibile. Insomma, un dispositivo che permette configurazioni diverse in base a quelle che sono le esigenze dell'utente. La compagnia immagina poi di inserire nel dispositivo anche la ricarica wireless in modo da rendere molto più facile la carica del prodotto. In più viene citata la possibilità di acquisire immagini stereoscopiche in 3D.Fonte | Patentscope
Articolo Precedente
Google Pixel 2 XL scontato fino a domani sul Google Store
Articolo Successivo
Un nuovo brevetto suggerisce Surface Andromeda con 3 display
Claudio Banfi
Laureato in Informatica scrive con passione notizie dal mondo della tecnologia portando in Italia le ultime novità dal mondo.