Caricamento...

NewsDigitali.com Logo NewsDigitali.com

Apple: un nuovo brevetto conferma lo sviluppo di un iPhone pieghevole

11/07/2018

Apple: un nuovo brevetto conferma lo sviluppo di un iPhone pieghevole

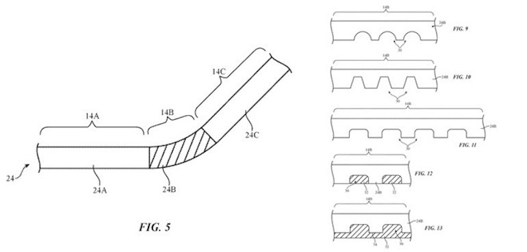
Secondo un nuovo brevetto, depositato al Patent & Trademark Office degli Stati Uniti, Apple starebbe ancora esaminando la possibilità di produrre un iPhone pieghevole, dotato di display flessibili. Il dispositivo in questione sarebbe caratterizzato da un unico pannello pieghevole, capace di flettersi in funzione degli usi da parte dell'utente. Questo consentirebbe sia l'uso ad una sola mano, quando piegato su se stesso, sia l'utilizzo a due mani, il tutto senza richiedere una cerniera di collegamento.

Il concetto descritto nel brevetto, si basa sull'utilizzo di più elementi flessibili integrati all'interno del dispositivo. Come spiegato, durante la fase di flessione del display, il materiale all'interno del device subisce un compressione, provocando all'esterno un assottigliamento dello schermo che potrebbe compromettere la visibilità. Per contrastare questo problema, Apple avrebbe proposto l'utilizzo di profili di sostegno per ridurre la massa di congregazione e la quantità di sollecitazioni sugli strati più vicini alla piegatura.

L'iPhone pieghevole potrebbe debuttare nel 2020

L'iPhone pieghevole sarebbe dotato di coperture in vetro rigide per le sezioni del display non interessate dalla flessione, con una porzione flessibile che fungerebbe da connessione tra le due parti. In una seconda rappresentazione del dispositivo, è stata evidenziata anche la possibilità dell'utilizzo di un unico pannello in vetro che possa essere piegato grazie all'utilizzo di uno strato di polimeri.

Il brevetto depositato nella giornata di ieri si aggiunge ad una serie di altri brevetti e rumor che confermano lo sviluppo di un iPhone pieghevole. Lo scorso anno, ad esempio, si è rumoreggiato di una collaborazione tra la compagnia di Cupertino e LG per la produzione di un iPhone OLED con display flessibile, da rilasciare nel 2020. Un altro brevetto concesso a novembre del 2016 ha suggerito l'utilizzo di una cerniera per un pannello OLED.

I continui lavori pubblicati dal reparto ricerca e sviluppo della società confermano quanto l'azienda stia investendo per la realizzazione di nuove tecnologie per display sempre più avanzati. Per la gamma iPhone 2018 LCD, la società avrebbe già richiesto la produzione di display MicroLED, capaci di incrementare la luminosità dello schermo, riducendo lo spessore e l'impatto sulla batteria. Tecnologia che sarebbe ideale anche per uno schermo pieghevole.

Fonte: appleinsider

Claudio Banfi Avatar
Claudio Banfi

Laureato in Informatica scrive con passione notizie dal mondo della tecnologia portando in Italia le ultime novità dal mondo.