Caricamento...

NewsDigitali.com Logo NewsDigitali.com

Surface Dial, un nuovo brevetto per renderlo trasparente

18/03/2018

Surface Dial, un nuovo brevetto per renderlo trasparente
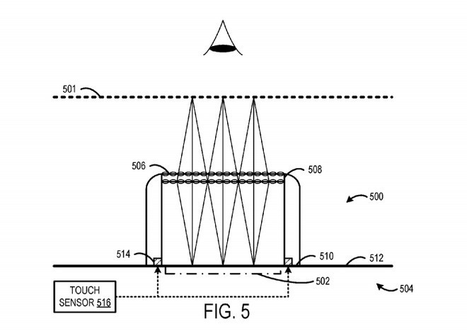
Surface Dial è stato presentato da Microsoft in occasione del lancio di Surface Studio nell’ormai lontano Ottobre 2016 ed ha rappresentato una nuova categoria di controller fisici in alcuni casi imitata da altri produttori come Dell che ne hanno ricavato una versione propria poi presentata sul mercato. Il Dial, utilizzabile su tutti i dispositivi Surface come controller esterno, ha il suo impiego ideale con Surface Pro, Surface Book e Surface Studio in quanto può essere utilizzato sia separatamente come rotella di selezione dei comandi personalizzabile a seconda del contesto e del programma con cui interagisce sia direttamente sul display del dispositivo Surface prescelto. In questo caso l’interfaccia di interazione ed i relativi menù di controllo appaiono direttamente sul display lungo la circonferenza del controller con un effetto scenico sicuramente di impatto. In questo modo l’utente può utilizzare i relativi comandi in modo più rapido e diretto con un ritmo di lavoro sicuramente più sostenuto. Ora sembra che per la prossima versione del Surface Dial Microsoft stia studiando un nuovo modello "trasparente" oggetto di un brevetto recentemente scoperto. In pratica con il nuovo Surface Dial 2 posizionando il controller sullo schermo di un dispositivo Surface la parte dell’immagine sottostante che nel caso del modello attualmente in commercio è chiaramente non visibile in quanto coperta dal controller stesso sarebbe invece proiettata attraverso un accessorio sulla superficie superiore del Dial permettendo quindi di vedere quella porzione di immagine normalmente non visibile. Attraverso un marker capacitivo integrato nella nuova versione di Surface Dial in grado di rilevare la posizione sul display in cui viene posizionato il controller e la relativa porzione di immagine da visualizzare direttamente sulla periferica di controllo, lo schermo touch di appoggio potrà interagire in modo ottimale con il controller visualizzando correttamente sul nuovo Dial quanto coperto dalla sua superficie di appoggio. [gallery columns="2" size="full" orderby="rand" ids="216356,216372"] Il nuovo Surface Dial potrebbe essere presentato in occasione della prossima versione di Surface Studio, dispositivo ideale con cui far interagire il controller, il cui lancio dovrebbe avvenire nei prossimi mesi. FONTE: WalkingCat
Claudio Banfi Avatar
Claudio Banfi

Laureato in Informatica scrive con passione notizie dal mondo della tecnologia portando in Italia le ultime novità dal mondo.