Attraverso un nuovo brevetto Surface Phone presentato durante il weekend siamo riusciti a scoprire le intenzioni di Microsoft sul nuovo smartphone in fase di costruzione. Il documento rilasciato viene intitolato “Live Hinge”, ovvero “Cerniera Viva” che consente al dispositivo dotato di due display di essere perfettamente aperto in modalità tablet oppure ripiegato su se stesso.
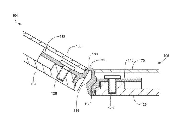
La parte grigia mostrata all’interno dell’immagine sotto riportata serve a collegare i due display, consentendo quindi al telefono di aver un grado di regolazione senza precedenti. Una volta ripiegato su se stessa, la cerniera assicura che entrambi gli schermi riescano a collegarsi tra loro senza troppi problemi. Questo sistema permetterebbe quindi di chiudere il telefono facendogli acquisire delle dimensioni “normali” ed eliminando la necessità di una cover protettiva particolarmente pesante da portare con se.

Questa cerniera di Surface Phone potrebbe anche consentire, in determinate configurazioni, una rotazione completa a 360 gradi. In questo modo si entrerebbe in una modalità “back-to-back” esponendo le superfici tattili su entrambi i lato. In questo modo lo smartphone atteso avrebbe tre modalità: chiuso senza schermi esposti, aperto a 180 gradi per la modalità tablet oppure aperto a 360 gradi nella modalità precedentemente descritta.
Nel brevetto ufficiale depositato – che potete trovare QUI – Microsoft descrive il potenziale utilizzo del “dispositivo multiparte” ma all’interno del documento viene anche fatto un riferimento specifico ai limiti dimensionali posti dagli smartphone di questa era. Quello presente nel documento potrebbe essere un chiaro suggerimento al fatto che i dettagli mostrati potrebbero essere quelli del reale Surface Phone.
Questa non è la prima volta che viene accennata una tecnologia di questo tipo, già diversi mesi fa attraverso un nostro articolo precedente vi abbiamo parlato di brevetti trapelati in rete ancora molto poco dettagliati e che ci hanno lasciato qualche dubbio sul loro effettivo funzionamento. Quello mostrato oggi, invece, si rivela una possibilità davvero realistica da poter facilmente applicare per il colosso di Redmond e ci aspettiamo che grazie a queste chiare informazioni lo smartphone possa riuscire ad essere pronto per il grande pubblico davvero molto presto.