Misurare pressione sanguigna da smartwatch, Samsung ci sta pensando
16/02/2018
Samsung è una delle aziende che più di tutte ha creduto alla correlazione che c'è tra tecnologia e salute. Sono anni infatti che inserisce all'interno dei suoi top gamma sensori come il cardiofrequenzimetro che permette di tenere sotto controllo i battiti cardiaci e non solo. Per il futuro la società sta cercando di inserire anche nuovi sensori che dovrebbero regalare la possibilità ai dispositivi di riuscire a calcolare anche la pressione sanguigna. Il nuovo brevetto da poco emerso ne è la chiara prova.
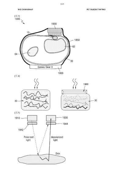
Gear X: un nuovo smartwatch davvero speciale
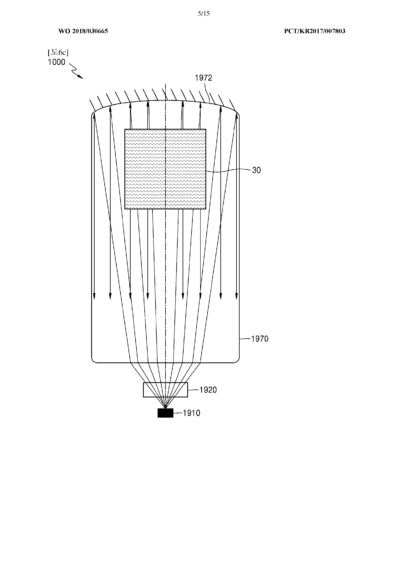
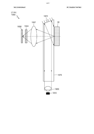
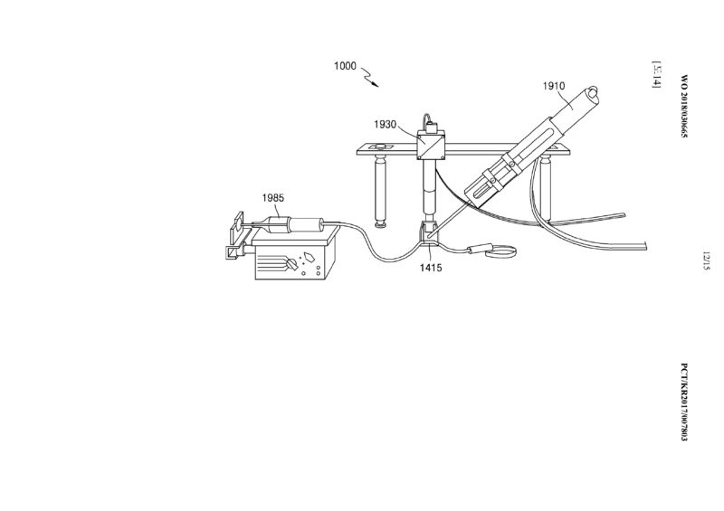
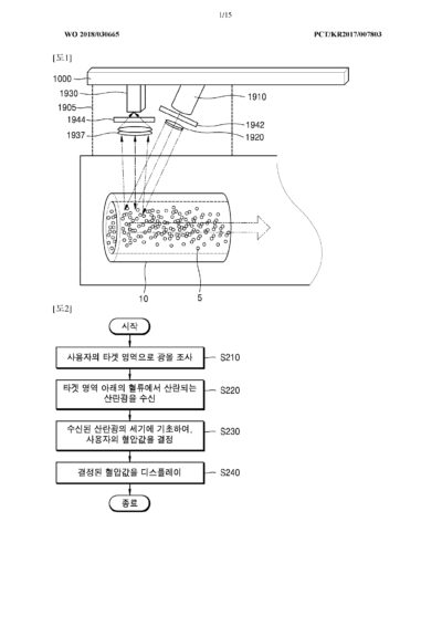
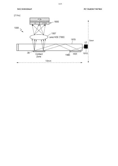
Quello mostrato in queste immagini ha tutta l'aria di essere un Samsung Gear 2 dotato però di alcuni poteri "speciali". Ciò che pensa Samsung all'interno di questo brevetto è molto semplice. Grazie ad un semplicissimo sensore che utilizza la luce polarizzata e depolarizzata è possibile "leggere" e misurare la pressione sanguigna attraverso la pelle di un utente. [gallery td_gallery_title_input="brevetto Gear X" td_select_gallery_slide="slide" ids="210524,210525,210526,210527,210528,210529,210530,210531,210532,210533,210534,210535" link="file"] É un qualcosa sicuramente di interessante visto che gli attuali strumenti in uso oggi necessitano comunque di una certa pressione per misurare la pressione del sangue, quindi questo sarebbe un modo tutto nuovo per riuscire ad ottenerne i valori. Questo smartwatch, che nel brevetto viene denominato Gear X, potrebbe poi non arrivare mai, oppure essere destinato ad un pubblico totalmente diverso rispetto quello a cui oggi si propone Gear Sport. [trovaprezzi prodotto='Samsung Gear Sport'] Proprio la vicinanza di Gear Sport, che è stato lanciato pochissimi mesi fa, ci fa capire che probabilmente questo prodotto, se mai dovesse arrivare, potrebbe veder luce soltanto entro la fine dell'anno oppure addirittura durante il corso del 2019.Articolo Precedente
Essential Phone Limited Edition arriva con nuove colorazioni
Articolo Successivo
Google Maps per iOS si aggiorna con i menu di accesso rapido
Claudio Banfi
Laureato in Informatica scrive con passione notizie dal mondo della tecnologia portando in Italia le ultime novità dal mondo.