Lenovo pensa ad un Laptop ibrido con tre schermi
13/05/2018
La società cinese Lenovo sta pensando di realizzare un nuovo Laptop ibrido dotato di ben 3 schermi. Quando si pensa ad un Laptop ovviamente a tutti viene in mente il classico PC dotato di tastiera fisica e schermo tradizionale che è possibile "aprire" e "chiudere" grazie all'apposito meccanismo.
Questo nuovo brevetto della casa cinese descrive però qualcosa di molto più particolare, un Laptop dotato di 3 schermi pieghevoli che, all'occorrenza, possono essere utilizzati o meno a seconda delle necessità dell'utente.
Dopo gli smartphone pieghevoli anche i Laptop pieghevoli?
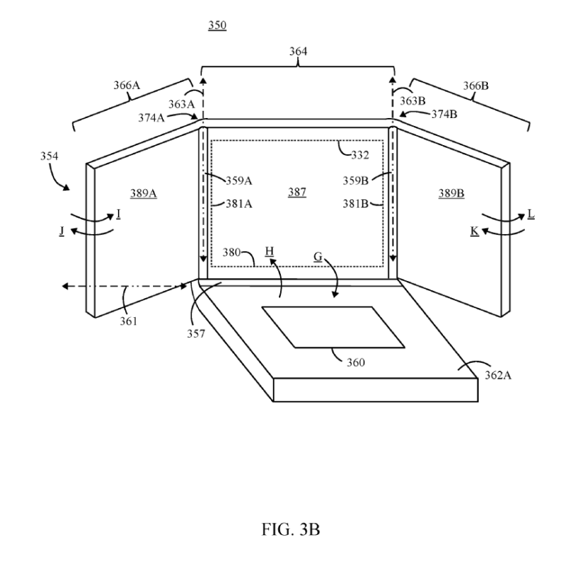
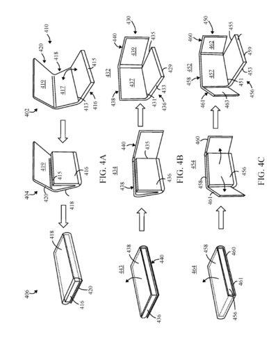
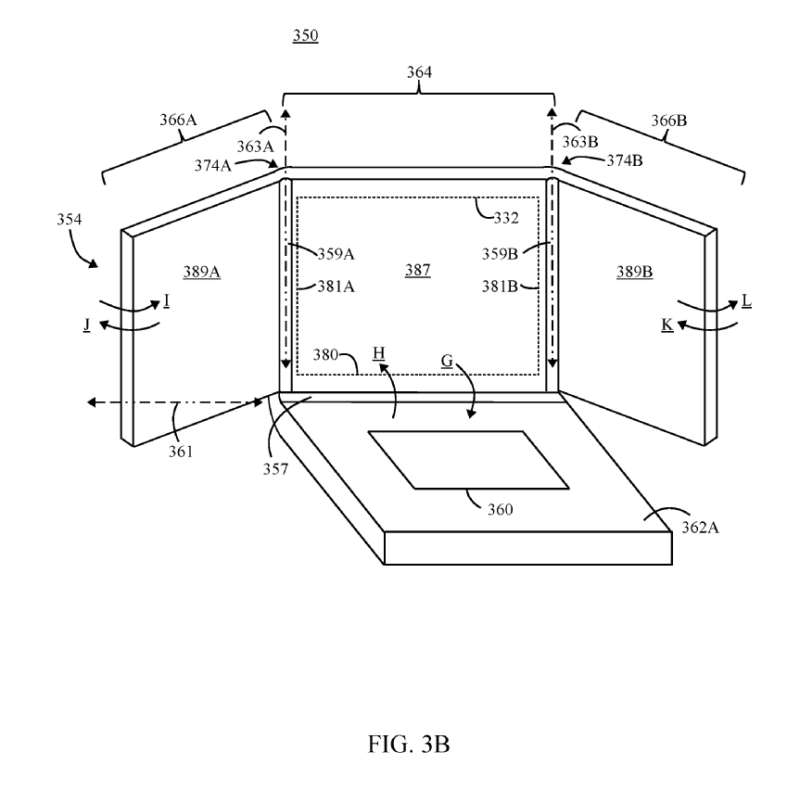
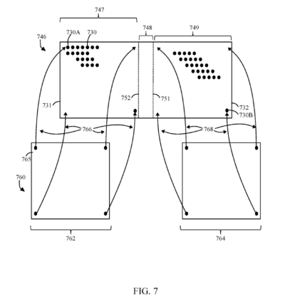
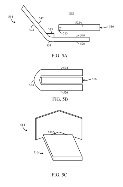
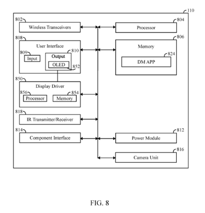
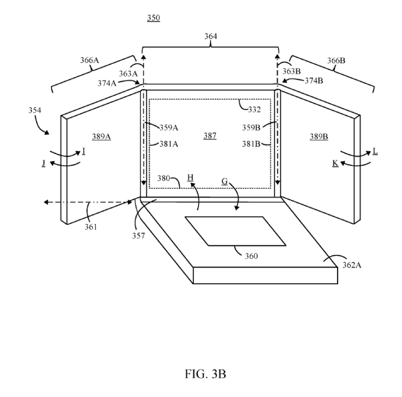
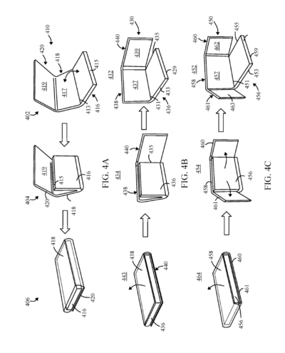
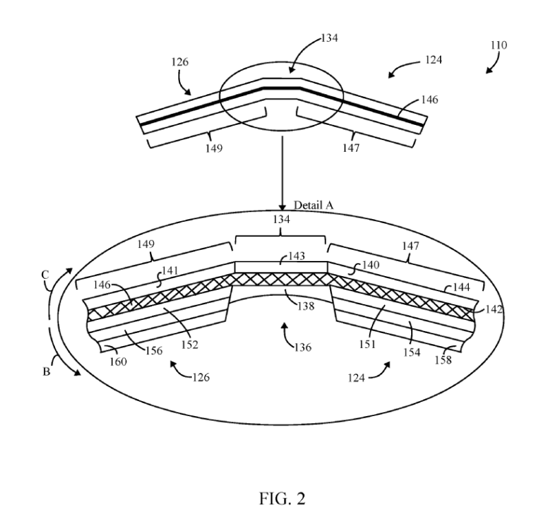
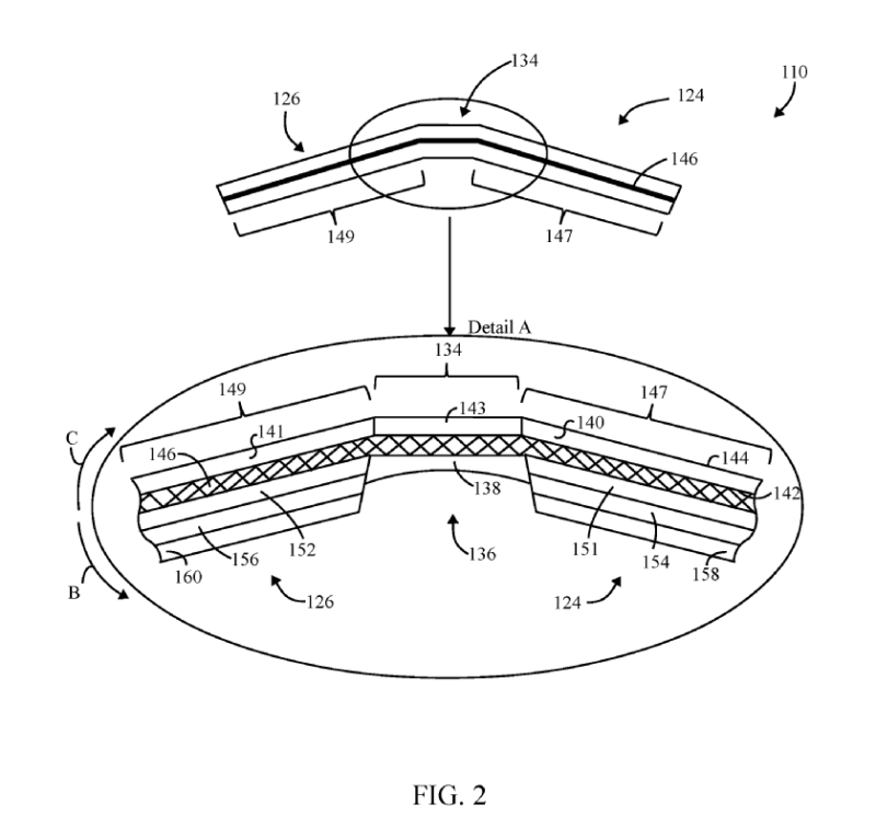
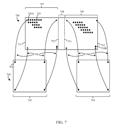
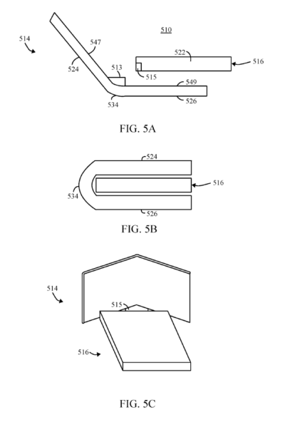
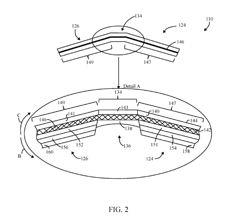
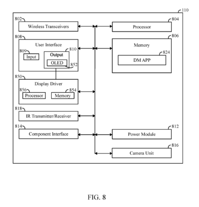
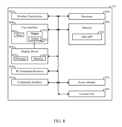
[gallery columns="9" ids="224554,224555,224556,224557,224558,224559,224560,224561,224562"] Per realizzare dispositivi pieghevoli come smartphone, tablet o Laptop (come in questo caso), è ovviamente necessario utilizzare i nuovi pannelli OLED in produzione. Questo dispositivo fa infatti uso proprio di nuovi schermi OLED flessibili che sarebbero posizionati ai lati del dispositivo. Lenovo immagina un Laptop dotato praticamente di "ali". I due schermi laterali sarebbero piegabili sia verso l'interno che verso l'esterno. L'utente poi, a seconda di quelle che sono le necessità, potrà aprirne uno soltanto, entrambi oppure lavorare in maniera tradizionale. Questa soluzione sarebbe magari utile per effettuare presentazioni, o anche durante la fruizione di giochi multiplayer locali. Ogni giocatore avrebbe il suo schermo ed una volta piegato sarebbe impossibile "imbrogliare". Per ora si tratta soltanto di un'idea messa su carta, per cui prima di vedere qualcosa di concreto ci vorrà sicuramente del tempo. Ricordiamo ci poi che molto spesso i prodotti immaginati all'interno dei brevetti non vedono mai vita realmente.Fonte | PatentScope
Articolo Precedente
Material Gallery e Google App: tutte le novità
Articolo Successivo
Honor 7S, il piccolo della casa in foto con tanto di specifiche
Claudio Banfi
Laureato in Informatica scrive con passione notizie dal mondo della tecnologia portando in Italia le ultime novità dal mondo.