Caricamento...

NewsDigitali.com Logo NewsDigitali.com

Approvato un nuovo brevetto Samsung per un dispositivo pieghevole

09/12/2017

Approvato un nuovo brevetto Samsung per un dispositivo pieghevole
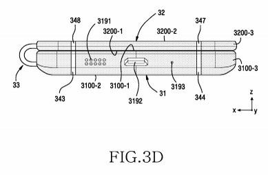
A Samsung è stato approvato di recente un nuovo brevetto riconosciuto con il codice US20170351297. Si tratta di un brevetto in cui è possibile vedere un nuovo dispositivo pieghevole composto da due schermi separati che è possibile ripiegare a piacimento. Un brevetto che di certo non va ad identificare un dispositivo reale, ma bensì una semplice idea che ora è protetta con licenza dell'ufficio brevetti.

Samsung continua ad investire sui dispositivi pieghevoli

Come evidente dalle immagini si vede un dispositivo che viene collegato ad un display secondario attraverso un apposito connettore centrale. Questo quindi, essendo flessibile, permette al secondo schermo di essere posizionato a piacimento al di sopra o al di sotto dello schermo principale. All'occorrenza gli schermi possono essere anche affiancati in modo da ricreare un unico pannello più grande. [gallery td_gallery_title_input="brevetto" td_select_gallery_slide="slide" ids="201226,201227,201228,201229,201230,201231" link="file"] Onestamente, pur trattandosi di un'idea, ci lascia un po' perplessi visto che comunque non è proprio un bel vedere questo dispositivo. Certo, è solo un'idea, un qualcosa che non verrà mai realizzato probabilmente, ma non possiamo non pensare di avere ora in mano il dispositivo ed usarlo. Quella cerniera centrale non è il massimo della comodità. Vedremo cosa si sarà inventata realmente Samsung con il suo prossimo Galaxy X.
Claudio Banfi Avatar
Claudio Banfi

Laureato in Informatica scrive con passione notizie dal mondo della tecnologia portando in Italia le ultime novità dal mondo.