PlayStation 5 potrebbe ricevere il supporto per gli accessori PS3, almeno stando ad un nuovo brevetto depositato da Sony e comparso online nelle scorse ore.
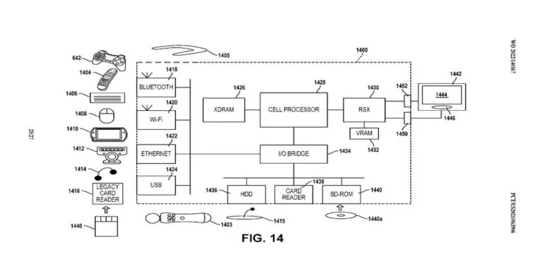
Il brevetto (avvistato da Game Rant) mostra il vecchio hardware Sony, così come i vecchi telecomandi multimediali, controller DualShock e persino una console portatile, probabilmente la PSP Go, utilizzata tramite emulazione con una PlayStation 5.
L’immagine, che trovate più in basso, mostra un DualShock, un Sony Media Remote, quello che sembra essere un PlayStation Mouse, un EyeToy, una bacchetta PlayStation Move e una memory card.
Gran parte di questa tecnologia è stata scartata da tempo da Sony, con la più moderna del gruppo che è il PlayStation Move, tutt’oggi ancora utilizzata per controllare la prima iterazione di PlayStation VR.
Ciò che rende il brevetto ancora più interessante è che le periferiche sembrano appartenere principalmente all’era PS3, il che potrebbe suggerire che questo rientra negli sforzi di Sony per tentare di emulare quel sistema, che è stato relegato allo streaming solo come parte della recente libreria PlayStation Plus..

Sebbene sia possibile immaginare che Sony stia esplorando come far funzionare questa vecchia tecnologia attraverso l’emulazione, poiché nessuna delle apparecchiature, a parte le PS Move, attualmente disponibili per l’acquisto, potrebbe essere semplicemente un processo per emulare la funzionalità di questi elementi nel software, piuttosto che nella compatibilità fisica con PlayStation 5.