La penna che scatta foto - la bizzarra idea di Samsung Galaxy Note 10
06/02/2019
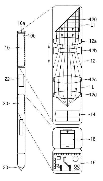
Avete mai visto una penna che scatta foto? Non parliamo delle tradizionali penne che utilizziamo tutti i giorni per scrivere, ma della fantastica S-Pen dei dispositivi Samsung Galaxy Note. Come ben saprete Samsung Galaxy Note 10 è in sviluppo e la compagnia sta cercando in tutti i modi di rinnovare completamente la famosa penna che da sempre accompagna questi modelli. Secondo una nuova informazione emersa proprio in queste ore pare che il prossimo modello potrebbe integrare una penna dotata addirittura di fotocamera.
Gli schermi mostrati nel brevetto suggeriscono proprio questa possibilità, ovviamente il tasto per gestire la fotocamera è inserito più in basso. Che utilità potrebbe avere questa soluzione? Magari potremmo scattare foto al volo con il pennino, o magari entrare nel mondo dello spionaggio. Davvero non riusciamo ad immaginarci come questa particolare feature di Samsung Galaxy Note 10 potrebbe tornare utile all'utente.
Magari questa fotocamera potrebbe sostituire la camera frontale, eliminando quindi dei fori che potrebbero non piacere agli utenti. Ma davvero Samsung sarebbe capace di eliminare la fotocamera frontale per portare avanti una soluzione simile? Insomma, una situazione strana sicuramente da seguire per capire meglio cosa sta succedendo. Noi terremo come sempre occhi ed orecchie aperte e vi aggiorneremo sulla questione quanto prima.
Articolo Precedente
Ecco le offerte TIM ai già clienti: minuti, SMS o giga illimitati per un giorno a 0,99 euro
Articolo Successivo
Galaxy S10+: i nuovi benchmark lo avvicinano alle prestazioni di iPhone XS
Laureato in Informatica scrive con passione notizie dal mondo della tecnologia portando in Italia le ultime novità dal mondo.