HTC brevetta una nuova cuffia VR per smartphone
28/01/2018
HTC ha ricevuto recentemente l'approvazione per un nuovo brevetto che sembrerebbe descrivere una nuova cuffietta VR per smartphone. La domanda di brevetto in questione è stata depositata a luglio 2016 ma successivamente è stata poi respinta perché la descrizione del prodotto era troppo vaga. Non vi erano quindi motivazioni per registrare l'originalità dell'idea. Successivamente la compagnia ha lavorato per cercare di apportare le modifiche li dove necessario ed ora, dopo una seconda richiesta, il brevetto è stato riconosciuto.
HTC: in arrivo un nuovo visore VR mobile?
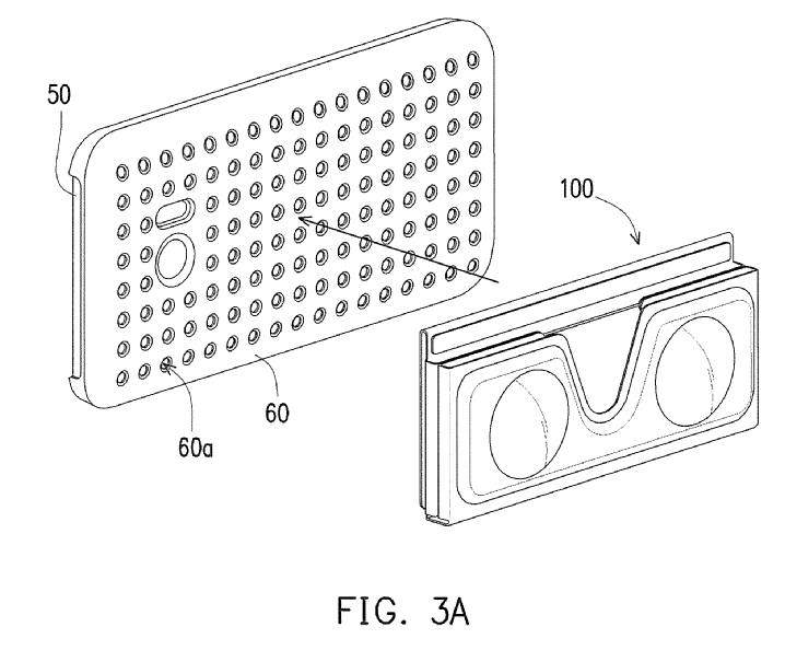
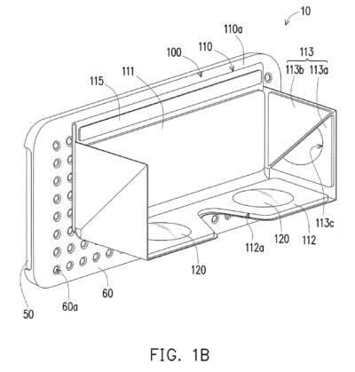
Il dispositivo in questione è composto da 2 differenti parti. La prima è una custodia protettiva che è destinata a contenere uno smartphone. La parte posteriore di questo specie di case è magnetico. Qui va poi collegato un accessorio, ovvero un sistema a doppia lente che viene utilizzato per visionare i contenuti. Naturalmente per visionare poi i contenuti è necessario che l'utente mantenga fisicamente il dispositivo con una o due mani. [gallery td_gallery_title_input="HTC VR" td_select_gallery_slide="slide" ids="208332,208333,208334,208335,208336" link="file"] Attualmente HTC produce i suoi visori HTC Vive destinati non di certo ai clienti mobile, ma tuttavia in futuro potrebbe arrivare anche qualcosa di analogo per smartphone. Bisogna però ricordare che la registrazione del brevetto non implica in alcun modo che il prodotto sarà realmente realizzato. Ci sono quindi ancora troppi dubbi. Noi ovviamente continueremo a tenere gli occhi aperti e vi aggiorneremo in caso venissero scovate nuove informazioni.Articolo Precedente
Meizu 15 Plus: render in alta risoluzione del dispositivo
Articolo Successivo
Intelligent Scan è la nuova tecnologia di Galaxy S9 per lo sblocco
Claudio Banfi
Laureato in Informatica scrive con passione notizie dal mondo della tecnologia portando in Italia le ultime novità dal mondo.