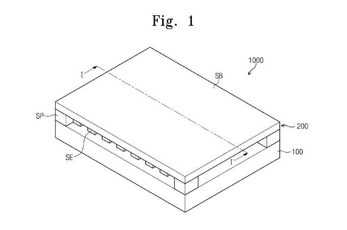
Samsung ha appena ricevuto un nuovo brevetto per un l’uso di un display touch sensibile alla forza applicata. Il produttore sudcoreano afferma che sebbene già esistano touchscreen sensibili alla pressione, la maggior parte di essi richiedono un sensore sensibile alla forza, separato, che aumenta inutilmente i costi di produzione del dispay.
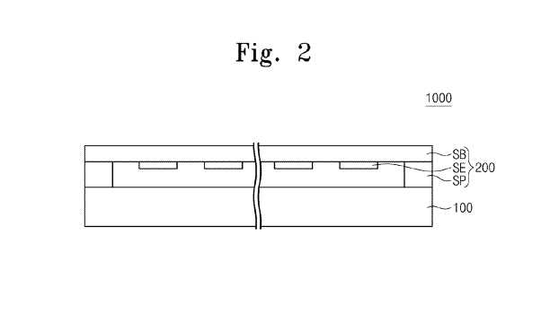
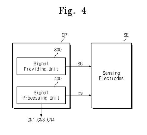
La soluzione di Samsung, tuttavia, suggerisce che questo sensore supplementare può essere omesso; la società intende infatti installare un minuscolo processore “forza-sensing” nel display stesso. Questo processore include un resistore con elettrodo ed un resistore di riferimento ed entrambi sono collegati a diversi strati molto sottili di materiali “piezoresistivi” come grafene o nanotubo di carbonio, che hanno diverse resistenze e che sono situati all’interno del display.
Una volta premuto il dito contro lo schermo, gli strati forniscono la miniatura sul display con un feedback in merito alla durata del input tocco e il piccolo processore determina se ” il tocco è un tocco morbido o un tocco duro”. Secondo Samsung, con questo metodo non è necessario nessun altro chip di elaborazione aggiuntivo.
Sebbene sia un discorso di natura complicata e magari poco interessante sta di fatto che Samsung sta concentrando i suoi sforzi su questo tipo di tecnologia e ricordiamo che un sensore di impronte su schermo è stato già implementato su Galaxy S5, mentre per questo tipo di tecnologia non sappiamo ancora i tempi per la realizzazione e per vederne l’utilizzo su di un qualche dispositivo.




