Samsung in questi anni non ha cambiato il design molto della propria linea Galaxy Tab. Il Galaxy Tab 3 è infatti simile al Galaxy Tab 2, e se le indiscrezioni riguardanti il Galaxy Tab 4 saranno confermate anche questo modello sarà simile ai precedenti. Tuttavia, da poche ore è stato svelato un nuovo brevetto registrato da parte di Samsung che rivela un tablet dal design finalmente innovativo che dispone di particolari bordi curvi.
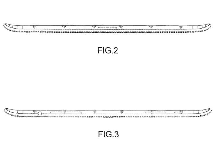
Specifichiamo che dalle immagine è possibile intuire che lo schermo del tablet non sembra curvo o di tipo “flex”, ma dispone unicamente di bordi sinistro e destro leggermente curvi. Analizzando nel dettaglio le immagini poi è possibile notare una cornice estremamente sottile e la mancanza di un pulsante hardware che porta a presupporre che si potrebbe trattare del nuovo tablet Nexus realizzato da Samsung per Google.
A questo punto non ci resta che aspettare per conoscere ulteriori dettagli di questo interessante tablet in arrivo da Samsung!



