Oltre la musica gli auricolari Apple potranno rilevare il battito cardiaco e la pressione, è questa la notizia che sta circolando negli ultimi tempi riguardo una nuova funzionalità che Apple starebbe studiando per i suoi famosi auricolari.
Probabilmente i dispositivi auricolari di nuova generazione integreranno tecnologie per la cancellazione del rumore, uno o più sensori per la salute come per esempio quello per il battito cardiaco e forse anche per la pressione, secondo altri persino un accelerometro e la tecnologia iBeacon per non perderli mai.
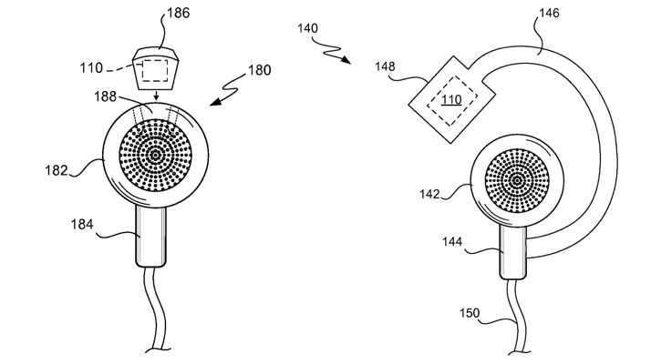
Il brevetto risale al 2008, ma i dettagli sono trapelati solo ora: un anello metallico a contatto con la pelle servirebbe a tenere sotto controllo i parametri vitali, mentre un giroscopio e un accelerometro integrati permetterebbero di controllare il lettore musicale o altre funzioni dell’iPad o dell’iPhone collegati alle cuffie. Sarebbe ad esempio possibile mettere in pausa la musica, passare alla traccia successiva o quella precedente semplicemente muovendo la testa in un certo modo; Apple avrebbe anche previsto un sistema intelligente che distingue i movimenti accidentali da quelli volontari, per evitare attivazioni non desiderate

